-
MenuBack
-
Termékek
-
-
-
-
-
-
Városi szolgáltatások és kiskereskedelem
- All-in-One érintőképernyős számítógépek és kioszkok
- iCity Service & iRetail megoldás
- Jelzések és szegélyszámítógépek
- POS és táblagépek
-
Kapcsolatok
- Ethernet / soros eszközkiszolgálók
- Fiber & PoE átalakítók, injektorok, extenderek
-
Ipari Ethernet kapcsolók
- EN50155 Ethernet kapcsolók
- EN50155 Ethernet kapcsolók: EKI-9500
- IEC61850-3 Ethernet kapcsolók
- Ipari PoE kapcsolók és megoldások
- M12 Ethernet Switch-ek: EKI-9500
- Managed Ethernet switchek (belépőszintű)
- Managed Ethernet switchek: EKI-7000/8000/9000
- Menedzselt Ethernet Switch-ek (Belépő szint): EKI-5000
- Menedzselt Ethernet switchek
- Menedzselt Ethernet switchek: EKI-5700/7000/8000/9000
- N-Key automatikus biztonsági mentés és visszaállítás
- Nem felügyelt Ethernet switchek
- Nem menedzselt Ethernet switchek: EKI-2000/5000
- Ipari protokoll kapuk
- Ipari vezeték nélküli és kapuk
-
Mobiltelefonos útválasztók és átjárók
- 4G és 5G belépő szintű ipari routerek - ICR-2000
- 4G nagy teljesítményű útválasztók - ICR-3200 és SmartFlex
- 5G és 4G csatlakozási átjárók - ICR-1000
- 5G és LTE fejlett nagysebességű útválasztók - ICR-4000
- Antennák
- Belépő szintű 4G útválasztók
- Belépő szintű 4G útválasztók és IoT-kapuk
- EN 50155 Vasúti 4G útválasztók
- Ipari LAN-routerek (Wi-Fi opcionális)
- Kettős modulos 4G útválasztók
- Moduláris 3G útválasztók
- Moduláris 4G útválasztók
- Nagy sebességű 4G/5G útválasztók és Edge Computing átjárók
- Robusztus 4G útválasztók és IoT-kapuk
- Rugalmas 4G útválasztók és IoT-kapuk
- Szoftver
- Tápegységek
- Tartozékok
- Vezetékes LAN Routerek
-
Soros kommunikáció
-
Soros átalakítók/izolátorok/továbbítók - ULI-200
- Adatcsap/osztó/port kombinátor - ULI-250/260
- RS-232 szigetelt átjátszó/szigetelő - ULI-232 sorozat
- RS-232-RS-422 átalakítók - ULI-223 sorozat
- RS-232-RS-422/485 átalakítók - ULI-224 sorozat
- RS-232-RS-485 átalakítók - ULI-226 sorozat
- RS-232/422 TTL/áramkör átalakító - ULI-227
- RS-422/485 izolált ismétlők - ULI-234 sorozat
- Soros szálas átalakítók - ULI-210 sorozat
- Soros túlfeszültség-levezetők - ULI-240 sorozat
- Soros kommunikációs kártyák
- USB átalakítók/szigetelők/ hubok - ULI-300/400
-
Soros átalakítók/izolátorok/továbbítók - ULI-200
- Telematikai átalakítók és átjárók
-
-
-
Ipari automatizálás
-
Ipari automatizálás
-
Adatgyűjtés (DAQ)
- 3U adatgyűjtő és vezérlőkártyák (MIC-3700 sorozat)
- 3U kommunikációs kártyák (MIC-3600 sorozat)
- DAQ kártyák
- DAQ-ba épített számítógép/modul
- DAQNavi
- GPIB
- iDoor modul (Mini PCIe)
- ISA DAQ kártyák
- Jelkondicionáló modulok és terminállapok
- Moduláris DAQ rendszer
- PC-104/PCI-104 DAQ és kommunikációs kártyák
- USB modulok
- Átjárók és távoli terminálegységek (RTU-k)
- Automatizálási vezérlők és I/O
-
Beágyazott automatizálási számítógépek
- Advantech iDoor modul
- Állványra szerelhető beágyazott dobozos számítógép, UNO-2 sorozat
- Bővíthető automatizálási számítógép
- Bővíthető automatizálási számítógép, UNO-3 sorozat
- Din-sínes automatizálási számítógép, UNO-1 sorozat
- Din-sínes vezérlés IPC
- Ipari IoT Edge Gateway
- Kompakt beágyazott doboz IPC
- Kompakt beágyazott dobozos PC
- Rackbe szerelhető automatizálási számítógépek alállomásokhoz
- Robbanásbiztos számítógép
- UNO tartozékok
- Ember-gép interfészek
- Gépi automatizálás
- I. osztály, 2. körzet Megoldás
- Panel PC
- SoftLogic szoftver
- Szoftverfejlesztő készletek
- Tanúsított megoldások
- Távoli I/O
- Teljesítmény és energia
- Vezeték nélküli I/O és érzékelők
- WebAccess szoftver és Edge SRP
-
Adatgyűjtés (DAQ)
-
Ipari automatizálás
-
Tanúsított perifériák
-
Tanúsított perifériák
- Aktív CPU hűtő
- Billentyűzet
- Bővítő kártya
- CPU
- DRAM memória modul
- Egér
- Flash kártya
- Grafikus kártya
- Hálózati kártya
- Megjelenítés
- Merevlemez
- Mobil állvány
- Optikai meghajtó
- Passzív CPU hűtő
- Rackmount készlet
- RAID vezérlő
- Szilárdtest-meghajtó
- Szoftver
- Tápegység
-
Tanúsított perifériák
-
Beágyazott számítástechnika
-
Beágyazott számítástechnika
- AIoT szoftver, forgalmazás és szolgáltatások
- Alkalmazás fókusz Beágyazott megoldások
- Arm-alapú számítási platformok
- Beágyazott egylapos számítógépek
- Beágyazott PC-k
- Beágyazott szoftver
- Computer On modulok
- Digital Signage lejátszók
- Edge AI & Intelligence megoldások
- Ipari alaplapok
- Ipari Flash és memória megoldások
- Ipari kijelzőrendszerek
-
Ipari vezeték nélküli megoldások
- AIW 100 sorozat (Wi-Fi 4/5/6)
- AIW 100 sorozat (Wi-Fi 4/5/6/6/6E)
- AIW 100 sorozat (Wi-Fi 5/6/6/6E/7)
- AIW 200 sorozat (GNSS/GPS)
- AIW 300 sorozat (4G LTE/5G NR)
- AIW 300 sorozat (LTE/4G/5G)
- ePaper kijelző modulok
- EPD kapuk és útválasztók
- Vezeték nélküli IoT megoldások, modulok és I/O lapkák
- Vezeték nélküli készlet
- Játékplatform megoldások
- Kábel tartozékok
-
Ventilátor nélküli beágyazott számítógépek
- ARK Ultra robusztus sorozat
- ARK-1000 sorozat: Ultra vékony, ventilátor nélküli beágyazott számítógépek
- ARK-2000 sorozat : Könnyű I/O rugalmasság Ventilátor nélküli beágyazott számítógépek
- ARK-3000 sorozat: Nagy teljesítményű, ventilátor nélküli beágyazott számítógépek
- ARK-6300 sorozat: Mini-ITX sorozatú ventilátor nélküli beágyazott számítógépek
- ARK-7000 sorozat: Extreme Performance Edge szerverek
- iDoor modul Mini PCIe bővítő készlet
- Tároló modulok
- Vezeték nélküli ePaper Display megoldások
-
Beágyazott számítástechnika
-
-
-
-
-
-
-
Ethernet extenderek
-
Ipari routerek
-
-
-
Vezeték nélküli és mobiltelefonos
-
Tartozékok
-
-
-
-
-
-
-
Ethernet switchek
-
-
-
Konvertory médií
-
Ipari csatlakoztathatóság
-
-
-
Vezeték nélküli adatátvitel
-
-
-
-
-
-
-
Útválasztók és átjárók
-
-
-
Icom Connectivity Suite
-
-
-
Icom Data Suite
-
-
-
-
-
- Rólunk
- Hírek
- Ipari területek
- Szolgáltatások
- Referencia
- Támogatás
- Kapcsolat
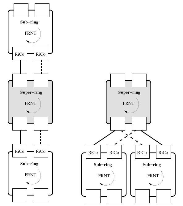
Körkörös topológia
Most a kör a szabvány minden kommunikációs alkalmazásban. A gyűrű sokkal nagyobb megbízhatóságot, de egyben az adatátvitel biztonságát is biztosítja a rendszerekhez való hozzáféréshez, ezért a sikeres befektetők természetesen körkörös vezetéket igényelnek. Ha a kommunikációs infrastruktúra megszakad egy gyűrűben, mindig van egy tartalék útvonal a teljes rendszer eléréséhez. A gyűrűn belüli adatcsere azonban kifinomult intézkedéseket igényel a hálózati torlódások, az úgynevezett broadcast viharok ellen. Ezért olyan eszközöket kell használni, amelyek jól megbirkóznak ezzel.

A Westermo kifejlesztett és évtizedek óta tesztelt egy FRNT (Fast Recovery Network Topology) gyűrűrendszert, amely napjainkban a leggyorsabb gyűrű helyreállítással rendelkezik egy esetleges kiesés esetén. Ugyanakkor egyszerre több kör is kombinálható, és a hálózatban az előfizetők (kapcsolók) száma nem korlátozott, illetve nem kerül felszámításra. Ezek az egyedülálló módszerek így több száz eszközzel is működhetnek teljesítményveszteség nélkül. A WeOS operációs rendszer támogatja az általános szabványos topológiákat is, mint például az RSTP (Rapid Spanning Tree Protocol) és az MRP (Media Redundancy Protocol), valamint ezek FRNT-vel való kombinációját. Ezért a Westermo termékek kombinálhatók különböző, ezeket a szabványokat támogató termékekkel. Minden WeOS termék támogatja az FRNT-t és egymással kombinálható.

Mégis előfordulhatnak olyan helyzetek, amikor egy olyan ágat kell egy zárt körhöz kapcsolni, amelyet nem lehet külön körbe zárni. A Westermo támogatja az úgynevezett patkó ágat, amely egy FRNT gyűrűhöz rendelhető, és ezen az ágon is élvezheti a FRNT előnyeit - lásd a fenti ábrát.

Az FRNT körök párosításával biztosítjuk a hozzáférést a teljes hálózati infrastruktúra eszközeihez a körön belül bárhol, miközben az egyedi FRNT hálózati topológia minden előnyét kihasználjuk.

Kettős célzás lehetővé teszi, hogy egy helyről két különböző helyre jusson el a FRNT gyűrűben. Ez megsokszorozza a megbízhatóságot és a megelőzést kommunikációs hiba esetén. A gyűrűzési képességekkel kapcsolatos teljes körű információkért lásd a WeOS kezelési útmutató.
Related posts
Extreme Networking megoldás
A hálózat kiterjesztése a határokon túlra
Ipari kiberbiztonság
WeOS
WeConfig